El Área 4 tiene fama de ser “la más fácil” del examen UNAM. Y esa fama es exactamente lo que le cuesta el lugar a muchos aspirantes.

De cada 100 aspirantes que presentaron el examen en modalidad escolarizada, solo 14 obtuvieron un lugar.
Hoy queremos que intentes resolver POR TU CUENTA la parte de Física de la nueva guía de la UNAM. Te va a servir mucho para conocer tu nivel antes del examen real.
Física, Química, Matemáticas — están en el examen igual que en cualquier otra área. Si llegas sin practicarlas porque “tú estudias humanidades”, llegas con mucha desventaja. Este simulacro es para que eso no te pase.
¿Qué tan competitiva es el Área 4?
El Área 4 — Artes y Humanidades — tiene una reputación de “ser más accesible” que otras áreas.
Eso es apenas el 13.8% de aceptación.
Y en las carreras más demandadas, la competencia se pone sin piedad.
- En Diseño Gráfico en FES Acatlán, solo 36 de 1,710 aspirantes lograron un lugar — el 2.1%.
- En Artes Visuales en CU, entraron 82 de 2,002.
- En Diseño y Comunicación Visual, el mínimo requerido fue de 100 aciertos de 120.
No hay área fácil. Hay aspirantes preparados y aspirantes que llegaron a improvisar.
¿Qué temas abarca este simulacro?
En estos 10 reactivos vas a trabajar los bloques que el examen UNAM sí o sí toca cuando entra Física en el Área 4:
- Cinemática: velocidad, rapidez y lanzamiento vertical con gravedad.
- Dinámica: Ley de Hooke, sistemas con polea y Segunda Ley de Newton.
- Trabajo y energía: cálculo de energía cinética con la fórmula correcta.
- Impulso y momentum: colisión perfectamente inelástica entre dos objetos.
- Termodinámica: conversión de temperatura entre Celsius y Fahrenheit.
- Teoría cinética de los gases: relación entre temperatura y movimiento de partículas.
- Ondas: superposición e interferencia con conservación de energía.
¿Cómo aprovecharlo mejor?
Intenta resolver cada reactivo por tu cuenta antes de ver la respuesta. Si te trabas, no pases directo a la solución — primero identifica qué concepto está pidiendo el reactivo.
Mis recomendaciones
- Lleva las fórmulas claras en la cabeza, no memorizadas de memoria. El examen no te las da, pero tampoco te pide derivarlas. Si entiendes qué significa cada variable, no se te olvida ni bajo presión.
- Cuida los signos en problemas de movimiento y colisiones. En este simulacro hay al menos un reactivo donde elegir la dirección positiva correcta es la diferencia entre acierto y error. Define tu sistema antes de meter números.
- Las conversiones de temperatura son reactivos regalados — si los practicas. Muchos aspirantes los pierden por no tener la fórmula automatizada. Asegúrate de dominar °F = \frac{9}{5}°C + 32 sin dudar.
- En ondas, lee el enunciado completo. Los reactivos de superposición e interferencia son conceptuales, no de cálculo. La trampa no es matemática — es ir directo a una fórmula cuando la pregunta es de principio físico.
Física
Reactivo 1
Para una velocidad constante, la rapidez es
Reactivo 2
Estimando la aceleración de la gravedad igual a 9.8 \frac{m}{s^2} y despreciando la fricción del aire, calcula el tiempo requerido para que una piedra lanzada directamente hacia arriba con una velocidad inicial de 39.2 \frac{m}{s} alcance su punto más alto.
Reactivo 3
Una báscula tiene un resorte cuya constante de elasticidad es de 1000 \text{ N/m} . Si colocas en éstas una masa de 10 \text{ kg} , ¿cuánto se estirará su resorte?
Considera g = 10 \frac{m}{s^2}
Reactivo 4
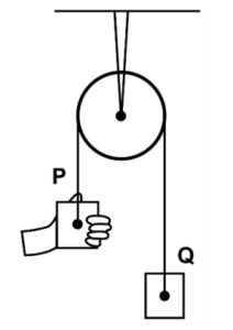
Dos objetos ( P y Q ) de masas iguales se suspenden de un hilo que pasa por una polea. Sujetando con la mano uno de ellos ( P ), ambos se mantienen inmóviles, como se muestra en la figura. Suponiendo que la masa del hilo es despreciable y la fricción en la polea es muy pequeña. ¿Qué sucede cuando se suelta a P ?

Reactivo 5
La ecuación que permite calcular la energía cinética de una partícula de masa m y velocidad v es
Reactivo 6
Una pelota de 2 kg se desplaza hacia la izquierda con una velocidad de 10 \frac{m}{s} , choca de frente con una pelota de 4 kg que viaja hacia la derecha a 2 \frac{m}{s} . Calcula la velocidad final si las dos pelotas se quedan pegadas después del choque.

Reactivo 7
En una receta se indica que la cocción de un platillo deberá ser a 220^{\circ}\text{C} , ¿a qué temperatura equivalente en ^{\circ}\text{F} debe calentarse el horno?
Reactivo 8
Se tienen dos recipientes de igual volumen A y B con el mismo gas, donde el recipiente A tiene el doble de partículas de gas que el recipiente B . Sin embargo, en el recipiente B , las partículas del gas se mueven más rápido, debido a que
Reactivo 9
A la playa llega el oleaje del mar y en ocasiones llegan algunas olas de mayor tamaño que el promedio. Lo anterior se debe al comportamiento ondulatorio de las olas, pues una característica de éstas es que se
Reactivo 10
La interferencia de dos ondas mecánicas puede generar franjas claras y obscuras. Lo anterior se debe a la conservación de la

